


電話:021-66075588
傳真:021-36213039
地址:上海市寶山區(qū)市臺路388號

G46J-10直通式襯膠隔膜閥
產品名稱:直通式襯膠隔膜閥
產品特點:設計與制造:BS5156 結構長度:BS5156 法蘭連接尺寸:BS4504、DIN2532、JIS B2212、ANSI B16.1、ISO2004 EG46W無襯里隔膜閥,EG46J直通式襯膠隔膜閥
一、用途:
直通式襯膠隔膜閥專用于控制非腐蝕性或一般腐蝕性介質,閥體內腔表面無襯里或覆有可供選擇的各種橡膠、適用于不同工作溫度和液體管路。
適用溫度:≤85℃、≤100℃、≤120℃、≤150℃(按照襯里和隔膜材料)
壓力等級:PN(MPa) 0.6 1.0 1.6
二、材料:
閥體:鑄鐵、球墨鑄鐵、碳鋼、不銹鋼
閥蓋:鑄鐵、球墨鑄鐵、碳鋼、不銹鋼
襯里:無襯里、橡膠
隔膜:橡膠
閥瓣:鑄鐵、碳鋼
閥桿:碳鋼、不銹鋼
手輪:鑄鐵
|
DN |
公稱壓力 |
工作壓力 |
L |
D |
D1 |
n-Фd |
f |
H1 |
H2 |
D0 |
質量 |
|
20 |
1.0 |
1.0 |
117 |
105 |
75 |
4-13.5 |
2 |
150 |
162 |
- | - |
|
25 |
127 |
115 |
85 |
4-13.5 |
2 |
150 |
162 |
120 |
3.5 |
||
|
32 |
146 |
140 |
100 |
4-17.5 |
2 |
152 |
180 |
120 |
5 |
||
|
40 |
159 |
150 |
110 |
4-17.5 |
2 |
152 |
180 |
120 |
6 |
||
|
50 |
190 |
165 |
125 |
4-17.5 |
2 |
163 |
198 |
120 |
8.5 |
||
|
65 |
216 |
185 |
145 |
4-17.5 |
2 |
205 |
227 |
230 |
16 |
||
|
80 |
254 |
200 |
160 |
8-17.5 |
2 |
220 |
252 |
230 |
22 |
||
|
100 |
305 |
220 |
180 |
8-17.5 |
2 |
262 |
300 |
280 |
32 |
||
|
125 |
0.6 |
356 |
250 |
210 |
8-17.5 |
3 |
290 |
335 |
280 |
43.5 |
|
|
150 |
406 |
285 |
240 |
8-22 |
3 |
368 |
427 |
368 |
65 |
||
|
200 |
521 |
340 |
295 |
8-22 |
3 |
410 |
470 |
483 |
112.5 |
||
|
250 |
0.4 |
635 |
395 |
350 |
12-22 |
5 |
479 |
569 |
483 |
192.5 |
|
|
300 |
749 |
445 |
400 |
12-22 |
5 |
550 |
650 |
560 |
296 |
||
|
350 |
787 |
505 |
460 |
16-22 |
5 |
550 |
650 |
560 |
- | ||
|
400 |
0.25 |
914 |
565 |
515 |
16-26 |
5 |
- | - |
640 |
.jpg)
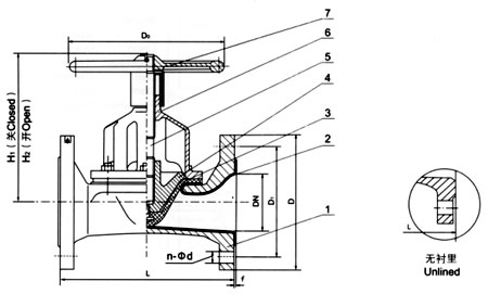
部件列表:1.閥體 2.閥體襯里 3.隔膜 4.閥瓣 5.閥桿 6.閥蓋 7、手輪
三、測試:
襯里層:電火花檢測
試驗與檢驗按BS6755標準
公稱壓力:PN(MPa)
閥體:PN×1.5
密封:PN×1.1
四、結構特點: 隔膜閥是一種特殊形式的截止閥: 五、直通式襯膠隔膜閥主要尺寸參數:
1. 彈性密封的開閉件,確保沒有內漏;
2. 流線型的流道,使得壓力損失??;
3. 沒有填料函,因此沒有外漏;
4. 閥體與蓋被中間隔膜隔開,使得隔膜上方的閥蓋,閥桿等零件不受介質侵蝕;
5. 隔膜可更換,維護費用低;
6. 襯里材料的多樣性,可適用于各種介質,并具有強度高、耐腐蝕性能好的特點。