


電話:021-66075588
傳真:021-36213039
地址:上海市寶山區(qū)市臺路388號

法蘭襯膠蝶閥
|
密封圈材料代號 |
適用溫度 |
適用介質 |
|
NR |
≤85℃ |
水、空氣、酸堿類 |
|
CR |
≤85℃ |
水、煤氣、酸堿類 |
|
NBR |
≤100℃ |
水、油品 |
|
CPDM |
≤120℃ |
水、蒸汽、一般酸堿類 |
|
FKM |
≤150℃ |
水、蒸汽、強酸堿類 |
二、材料
|
閥體 |
鑄鐵、球墨鑄鐵、碳鋼、不銹鋼 |
|
蝶板 |
鑄鐵、球墨鑄鐵、碳鋼、不銹鋼、碳鋼完全包覆橡膠或氟塑料 |
|
閥桿 |
碳鋼鍍鎳磷、不銹鋼 |
|
閥座密封圈 |
天然膠NR、氯丁膠CR、丁腈膠NBR、三元乙丙膠EPDM、氟橡膠FKM |
|
氣動裝置 |
組合件 |
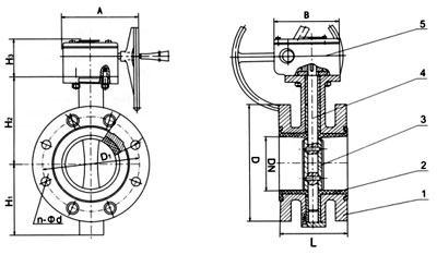
壓力等級:PN(MPa) 1.0 1.6
|
公稱通徑DN |
L |
D |
D1 |
n-d(mm) |
H1 |
H2 |
質量 |
|
|
PN1.6 |
PN1.6 |
|||||||
|
50 |
108 |
165 |
125 |
4-18 |
4-18 |
91 |
120 |
8 |
|
65 |
112 |
185 |
145 |
4-18 |
4-18 |
104 |
140 |
11.5 |
|
80 |
114 |
200 |
160 |
8-18 |
8-18 |
107 |
150 |
12.5 |
|
100 |
127 |
220 |
180 |
8-18 |
8-18 |
135 |
165 |
23 |
|
125 |
140 |
250 |
210 |
8-18 |
8-18 |
129 |
190 |
40.5 |
|
150 |
140 |
285 |
240 |
8-22 |
8-22 |
131 |
205 |
46.5 |
|
200 |
152 |
340 |
295 |
8-22 |
12-22 |
177 |
2550 |
61 |
|
250 |
165 |
395 |
350 |
12-22 |
12-26 |
206 |
270 |
73.5 |
|
300 |
178 |
445 |
400 |
12-22 |
12-26 |
220 |
320 |
103 |
|
350 |
190 |
505 |
460 |
16-22 |
16-26 |
264 |
358 |
120 |
|
400 |
216 |
565 |
515 |
16-26 |
16-30 |
298 |
400 |
217 |
|
450 |
222 |
615 |
565 |
16-26 |
|
327 |
420 |
242 |
|
500 |
229 |
671 |
620 |
20-26 |
|
352 |
480 |
279 |
|
600 |
267 |
780 |
725 |
20-30 |
|
446 |
560 |
396 |
|
700 |
292 |
895 |
840 |
24-30 |
|
486 |
610 |
596 |
.jpg)
